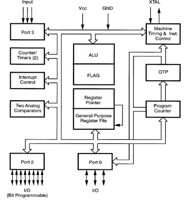
Product Summary
The Z86E0812PSC is a Z8 CMOS OTP microcontroller which allows easy software development, debug, prototyping and small production runs not economically desirable with masked ROM versions. For applications demanding powerful I/O capabilities, the Z86E0812PSC dedicated input and output lines are grouped into three ports, and are configurable under software control to provide timing, status signals, or parallel I/O.
Parametrics
Z86E0812PSC absolute maximum ratings: (1)VCC Supply voltage: -0.3 to +7V; (2)TSTG Storage temp: -65 to +150℃.
Features
Z86E0812PSC features: (1)18-pin DIP and SOIC package; (2)3.0 to 5.5 Volt @ 0℃ to 70℃; (3)14 input/output lines; (4)Six vectored, prioritized interupts with programmable polarity; (5)Two analog comparators; (6)Two programmable 8-bit counter/timers, each with 6-bit programmable prescaler; (7)WDT/power-on reset(POR); (8)On-chip oscillator that accepts XTAL, ceramic resonance, LC, or external clock; (9)Clock-free WDT reset; (10)Low-power consumption(50mW); (11)Fast instruction pointer(1μs @ 12MHz).
Diagrams

| Image | Part No | Mfg | Description | ![]() |
Pricing (USD) |
Quantity | ||||||
|---|---|---|---|---|---|---|---|---|---|---|---|---|
![]() |
![]() Z86E0812PSC1866 |
![]() ZiLOG |
![]() 8-bit Microcontrollers (MCU) Z8 2K OTP 12MHz |
![]() Data Sheet |
![]()
|
|
||||||
![]() |
![]() Z86E0812PSC1903 |
![]() ZiLOG |
![]() 8-bit Microcontrollers (MCU) 2K OTP 12MHz OSC |
![]() Data Sheet |
![]()
|
|
||||||
(China (Mainland))









