Product Summary
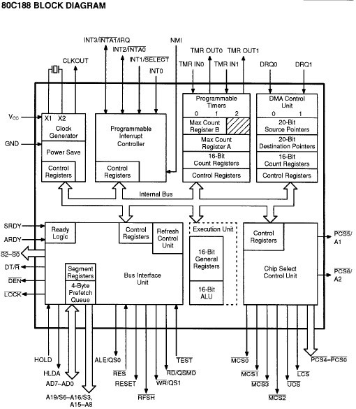
The N80C188-20 is a CMOS high-intergration microprocessor. It has features that are new to the 80186/80188 family, which include a DRAM refresh control unit, and power-save mode. When used in "compatible" mode, the N80C188-20 is 100% pin-for-pin compatible with the NMOS 80186/80188. The enhanced mode of operation allows the full feature set of the 80C186/C188 to be used. The N80C188-20 is upward compatible with 8086 and 8088 software anf fully compatible with 80186 and 80188.
Parametrics
N80C188-20 absolute maximum ratings:(1)data setup(A/D), Tdvcl: 15ns at 10MHZ, 15ns at 12MHZ, 15ns at 16MHZ; (2)data in hold(A/D), Tcldx: 3ns at 10MHZ, 3ns at 12MHZ, 3ns at 16MHZ; (3)status active delay, Tclsh: 3 to 45ns at 10MHZ, 3 to 35ns at 13MHZ, 3 to 31ns at 16MHZ.
Features
N80C188-20 features:(1)operation modes include; (2)integrated feature set; (3)avaiable in 25MHZ, 20MHZ, 16MHZ, 10MHZ and 12.5MHZ version; (4)direct addressing capability to 1Mbyte of memory and 64kbyte I/O; (5)fully static CMOS design; (6)completely object code compatible with all exsiting 8086/8088 software. Has ten addtional instructions over 8086/8088; (7)complete system development; (8)available in 68-pin PLCC, 80-pin TQFP and PQFP.
Diagrams

![]() |
![]() N80C186-25 |
![]() Other |
![]() |
![]() Data Sheet |
![]() Negotiable |
|
||||
![]() |
![]() N80C186EA25 |
![]() |
![]() IC MPU 16-BIT 5V 25MHZ 68-PLCC |
![]() Data Sheet |
![]() Negotiable |
|
||||
![]() |
![]() N80C186EB25 |
![]() |
![]() IC MPU 16-BIT 5V 25MHZ 84-PLCC |
![]() Data Sheet |
![]() Negotiable |
|
||||
![]() |
![]() N80C186XL12 |
![]() |
![]() IC MPU 16BIT 5V 12MHZ 68PLCC |
![]() Data Sheet |
![]() Negotiable |
|
||||
![]() |
![]() N80C186XL20 |
![]() |
![]() IC MPU 16BIT 5V 20MHZ 68PLCC |
![]() Data Sheet |
![]() Negotiable |
|
||||
![]() |
![]() N80C186XL25 |
![]() |
![]() IC MPU 16-BIT 5V 25MHZ 68-PLCC |
![]() Data Sheet |
![]() Negotiable |
|
||||
(China (Mainland))








