Product Summary
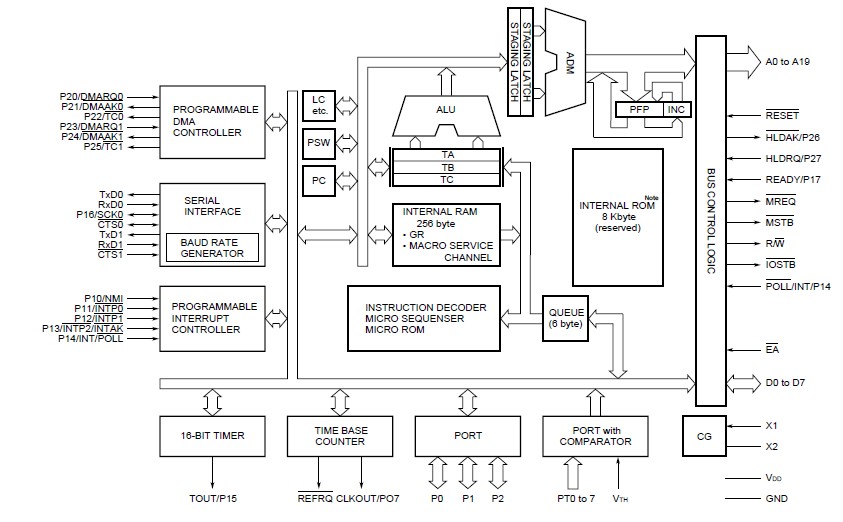
The D70320L-8 is a single-chip microcontroller on which 16-bit CPU, RAM, serial interface, timer, DMA controller, interrupt controller, etc. are all integrated. The D70320L-8 is compatible with the 8/16-bit microprocessor μPD70108/70116 (V20/V30) on the software level.
Parametrics
D70320L-8 absolute maximum ratings: (1)Supply Voltage VDD: – 0.5 to +7.0 V; (2)Input Voltage VTH: – 0.5 to VDD + 0.5 V; VI: – 0.5 to VDD + 0.5 V; (3)Output Voltage VO: – 0.5 to VDD + 0.5 V; (4)Output Current Low IOL: 4.0 mA; (5)Output Current High IOH: –2.0 mA; (6)Operating Ambient Temperature TA: –40 to +85 ℃; (7)Storage Temperature Tstg: – 65 to +150 ℃.
Features
D70320L-8 features: (1)Internal 16-bit architecture and external 8-bit data bus; (2)Compatible with mPD70108/70116 (in native mode) on software level (some instructions added); (3)Minimum instruction cycle: 250 ns/8 MHz ; (4)On-chip RAM: 256 words×8 bits; (5)Input port (port T) with comparator: 8 bits; (6)I/O lines (input port: 4 bits, input/output port: 20 bits); (7)Serial interface (internal dedicated baud rate generator): 2 channels Asynchronous mode and I/O interface mode; (8)DRAM and pseudo SRAM refreshing functions; (9)DMA controller: 2 channels; (10)16-bit timer: 2 channels; (11)Time base counter; (12)On-chip clock generator; (13)Programmable wait function; (14)Standby function (STOP/HALT).
Diagrams

![]() |
![]() D703008 |
![]() TE Connectivity |
![]() General Purpose / Industrial Relays 0200 J RELAY |
![]() Data Sheet |
![]()
|
|
||||||
(China (Mainland))








