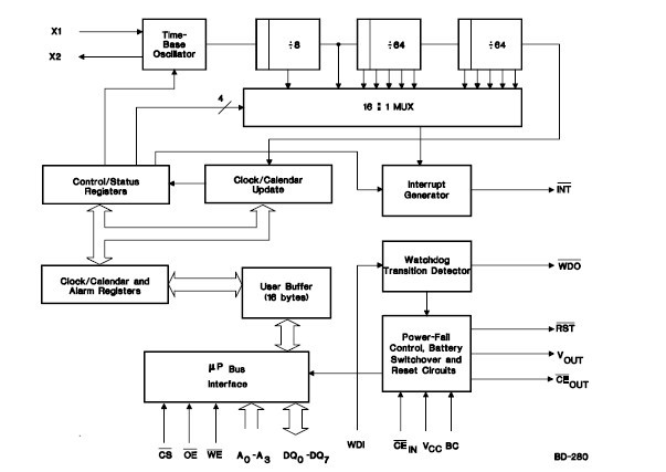
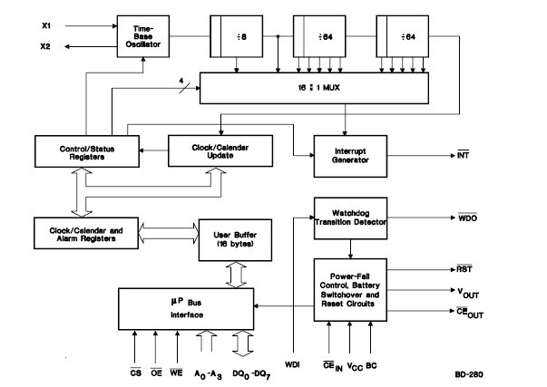
Product Summary
The BQ4845YS-N Real-Time Clock is a low-power microprocessor peripheral that integrates a time-of-day clock, a 100-year calendar, and a CPU supervisor in a 28-pin SOIC or DIP. The BQ4845YS-N is ideal for fax machines, copiers, industrial control systems, point-of-sale terminals, data loggers, and computers. The BQ4845YS-N provides direct connections for a 32.768KHz quartz crystal and a 3V backup battery. The BQ4845YS-N contains a temperaturecompensated reference and comparator circuit that monitors the status of its voltage supply. When the BQ4845YS-N detects an out-of-tolerance condition, it generates an interrupt warning and subsequently a microprocessor reset.
Parametrics
BQ4845YS-N absolute maximum ratings: (1)VCC DC voltage applied on VCC relative to VSS: -0.3 to 7.0 V; (2)VT; (3)DC voltage applied on any pin excluding VCC relative to VSS: -0.3 to 7.0 V; (4)TOPR Operating temperature: 0 to +70 ℃; -40 to +85 ℃ Industrial; (5)TSTG Storage temperature: -55 to +125 ℃; (6)TBIAS Temperature under bias -40 to +85 ℃; (7)TSOLDER Soldering temperature: +260 ℃ For 10 seconds.
Features
BQ4845YS-N features: (1)Real-Time Clock counts seconds through years in BCD format; (2)On-chip battery-backup switchover circuit with nonvolatile control for external SRAM; (3)Less than 500nA of clock operation current in backup mode; (4)Microprocessor reset valid to VCC = VSS; (5)Independent watchdog timer with a programmable time-out period; (6)Power-fail interrupt warning; (7)Programmable clock alarm interrupt active in battery-backup mode; (8)Programmable periodic interrupt; (9)Battery-low warning.
Diagrams

![]() |
![]() BQ4802LYDSH |
![]() Texas Instruments |
![]() Real Time Clock Parallel RTC |
![]() Data Sheet |
![]() Negotiable |
|
||||||||||||
![]() |
![]() BQ4802LYDW |
![]() Texas Instruments |
![]() Real Time Clock Parallel RTC |
![]() Data Sheet |
![]()
|
|
||||||||||||
![]() |
![]() BQ4802LYDWG4 |
![]() Texas Instruments |
![]() Real Time Clock Parallel RTC |
![]() Data Sheet |
![]()
|
|
||||||||||||
![]() |
![]() BQ4802LYPW |
![]() Texas Instruments |
![]() Real Time Clock Parallel RTC |
![]() Data Sheet |
![]()
|
|
||||||||||||
![]() |
![]() BQ4802LYPWRG4 |
![]() Texas Instruments |
![]() Real Time Clock Parallel RTC |
![]() Data Sheet |
![]()
|
|
||||||||||||
![]() |
![]() BQ4830YMA-85 |
![]() Texas Instruments |
![]() Real Time Clock RTC Module With 32Kx8 NVSRAM |
![]() Data Sheet |
![]()
|
|
||||||||||||
(China (Mainland))











