Product Summary
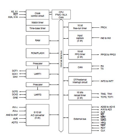
The MB90F497G is a general-purpose, high-performance 16-bit microcontroller. It was designed for devices like consumer electronics, which require high-speed, real-time process control. This series features an on-chip full-CAN interface. The MB90F497G Series peripheral resources include on chip 8/10-bit A/D converter, UART (SCI) 0/1, 8/16-bit PPG timer, 16-bit I/O timer (16-bit free-run timer, input capture 0, 1, 2, 3 (ICU) ), and CAN controller.
Parametrics
MB90F497G absolute maximum ratings: (1)Power supply voltage VCC VSS - 0.3 to VSS + 6.0 V; AVCC VSS - 0.3 to VSS + 6.0 V; AVR VSS - 0.3 to VSS + 6.0 V; (2)Input voltage VI: VSS - 0.3 to VSS + 6.0 V; (3)Output voltage VO: VSS - 0.3 to VSS + 6.0 V; (4)Maximum clamp current ICLAMP: -2.0 to + 2.0 mA; (5)Total maximum clamp current: 20 mA; (6)level maximum output current IOL: 15 mA; (7)level average output current IOLAV: 4 mA; (8)level maximum total output current SIOL: 100 mA; (9)level average total output current SIOLAV: 50 mA; (10)level maximum output current IOH: -15 mA; (11)level average output current IOHAV: -4 mA; (12)level maximum total output current SIOH: -100 mA; (13)level average total output current SIOHAV: -50 mA; (14)Power consumption PD: 315 mW; (15)Operating temperature TA: -40 +105℃; -40 +125℃; (16)Storage temperature Tstg: -55 to +150℃.
Features
MB90F497G features: (1)Models that support +125 ℃; (2)Clock: Built-in PLL clock multiplier circuit; (3)Choose 1/2 oscillation clock or *1 to *4 multiplied oscillation clock (for a 4-MHz oscillation clock, 4 to 16 MHz) machine (PLL) clock.
Diagrams

![]() |
![]() MB90050 |
![]() Other |
![]() |
![]() Data Sheet |
![]() Negotiable |
|
||||
![]() |
![]() MB90091A |
![]() Other |
![]() |
![]() Data Sheet |
![]() Negotiable |
|
||||
![]() |
![]() MB90092 |
![]() Other |
![]() |
![]() Data Sheet |
![]() Negotiable |
|
||||
![]() |
![]() MB90096 |
![]() Other |
![]() |
![]() Data Sheet |
![]() Negotiable |
|
||||
![]() |
![]() MB90097 |
![]() Other |
![]() |
![]() Data Sheet |
![]() Negotiable |
|
||||
![]() |
![]() MB90098A |
![]() Other |
![]() |
![]() Data Sheet |
![]() Negotiable |
|
||||
(China (Mainland))








