Product Summary
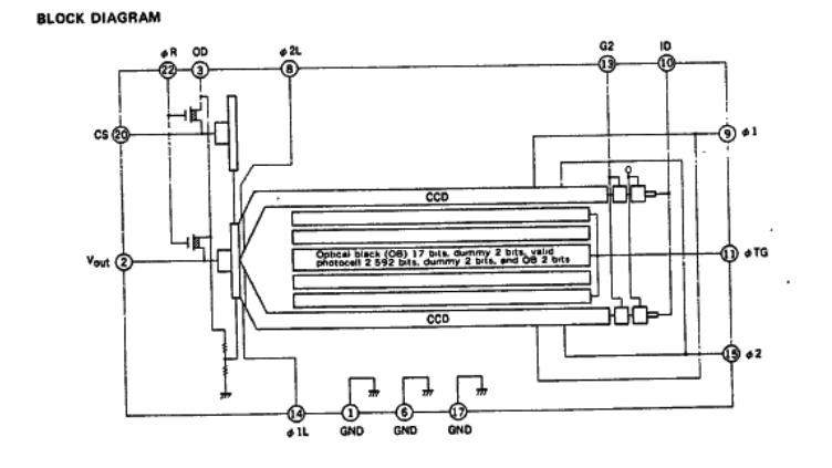
The D3574D is a 2592-bit CCD linear image sensor, which convert light to voltage. The D3574D is made up of a 2592bit photosensor array, charge transfer register with a pair of 1296bit CCDs. The photo-sensor has an 11um pitch.
Parametrics
D3574D absolute maximum ratings: (1)output unit drain voltage:-0.3V to +15V; (2)test pin ID voltage:-0.3V to +15V; (3)shift register clock signal voltage:-0.3V to +15V; (4)reset signal voltage: -0.3V to +15V; (5)transfer gate signal voltage: -0.3V to +15V; (6)operating ambient temperature:-25 to +60℃; (7)storage temperature:-40 to +100℃.
Features
D3574D features: (1)high response sensitivity: providing a response ten times better than the existing equivaient NEC product to the light from a white fluorescent lamp; (2)peal response wavelength:550nm green; (3)reads the shorter side of a 83-size sheet at a resolution of 8 dot/mm; (4)driven by a 12V single power supply.
Diagrams

(China (Mainland))






